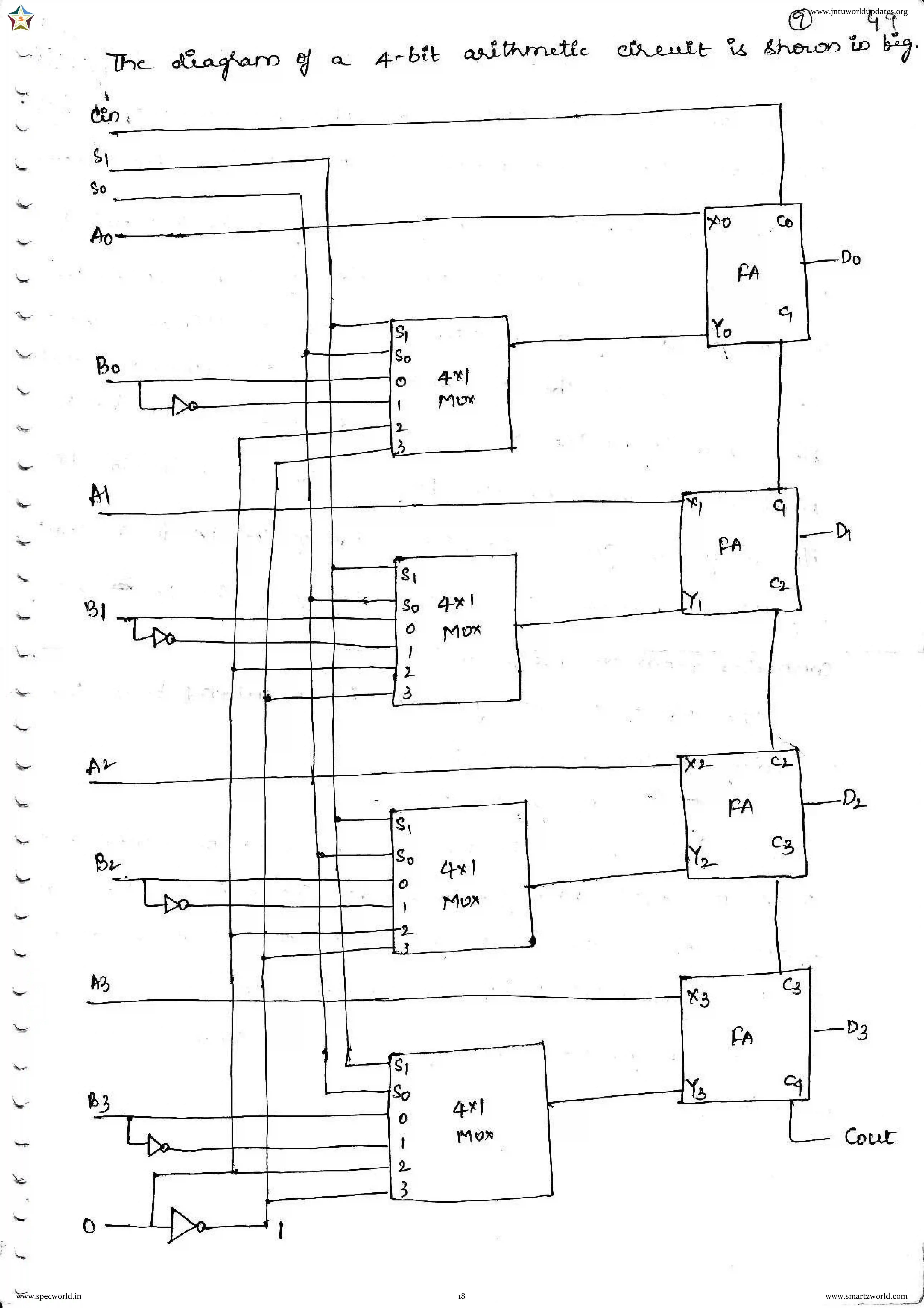
Register Transfer And Micro Operstion
Notes: COA Notes-1
Notes: COA Notes-1